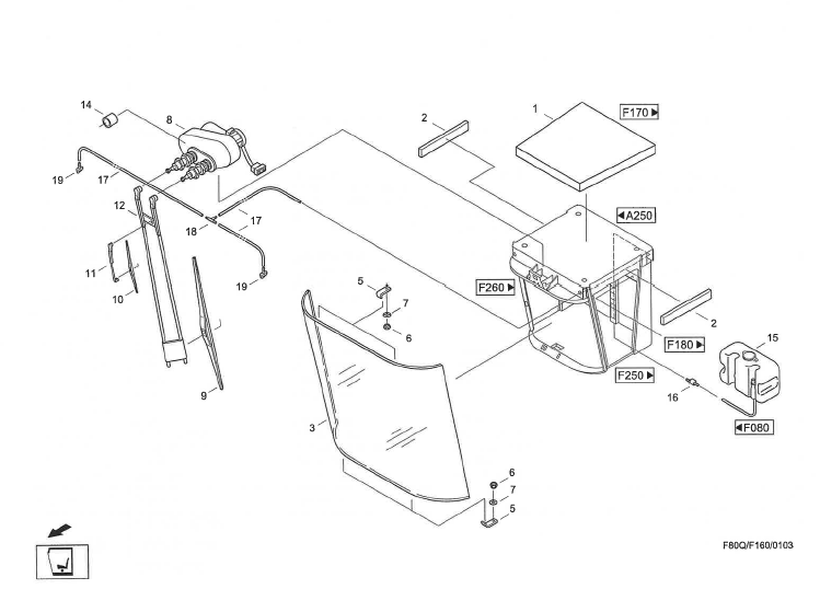
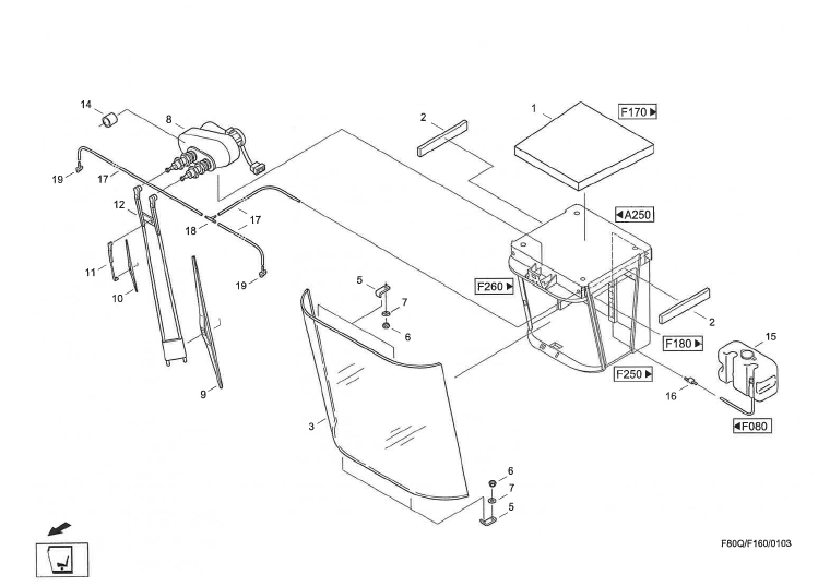
Frontscheibe, Scheibenwischer
Kategorien
-
Digitaler Katalog
- MDW 514S ab BJ91
- MDW 524 (Variante Weißrussland)
- MDW 524 (bis Baujahr 1993)
- MDW 525
- MDW 527 bis BJ1995
- MDW 527 ab BJ1996
- MDW Farmer 220
- Case 521
- Case 525
- Case 527
-
Case CF60
- Schacht
- Drescher
- Dreschwerk
- Reinigung
- Förderung
- Antrieb
- Zentralschmierung
- Zentralschmierung, manuell
- Zentralschmierung, automatisch
- Fahrwerk
- Ländervariante
- Bereifung
- Fahrerstand
-
Kabine
- Anbauteile
- Feststellbremse
- Fussbremse
- Hauptbremszylinder
- Klimaanlage 1
- Klimaanlage 2
- Frontscheibe, Scheibenwischer
- Dach
- Heckfenster
- Rückspiegel, Antenne
- Bodenmatte, Isolierung
- Bed.-Anzeigeeinheit, Befestigung
- Radio, Funk
- Lenksäule
- Lenksäule, Elektrik
- Lenkaggregat
- Tür, links
- Tür, rechts
- Sitz
- Fahrersitz
- Bedienpult
- Fahrhebel
- Fahrhebel, Anbauteile
- Gashebel
- Getriebeschaltung
- Elektrik
- Hydraulikanlage
- Elektroanlage
- Zusatzausrüstung
- Strohhäcksler, elektr. verstellbar
- Strohhäcksler, mech. verstellbar
- Strohhäcksler
- Triebwerk
- Motor
- Kraftstoffeinspritzanlage
- Case CF70
- Case CF80
- Großballenpresse Case 530
- Großballenpresse Case 540
- Großballenpresse Case 550
- Großballenpressen
Produkte filtern
Keine Produkte gefunden.