Steigschnecke, Anbauteile
Kategorien
-
Digitaler Katalog
- MDW 514S ab BJ91
- MDW 524 (Variante Weißrussland)
- MDW 524 (bis Baujahr 1993)
- MDW 525
- MDW 527 bis BJ1995
- MDW 527 ab BJ1996
- MDW Farmer 220
- Case 521
- Case 525
- Case 527
- Case CF60
-
Case CF70
- Schacht
- Drescher
- Dreschwerk
- Reinigung
-
Förderung
- Korntank, Anbauteile
- Gehäuse
- Mulde
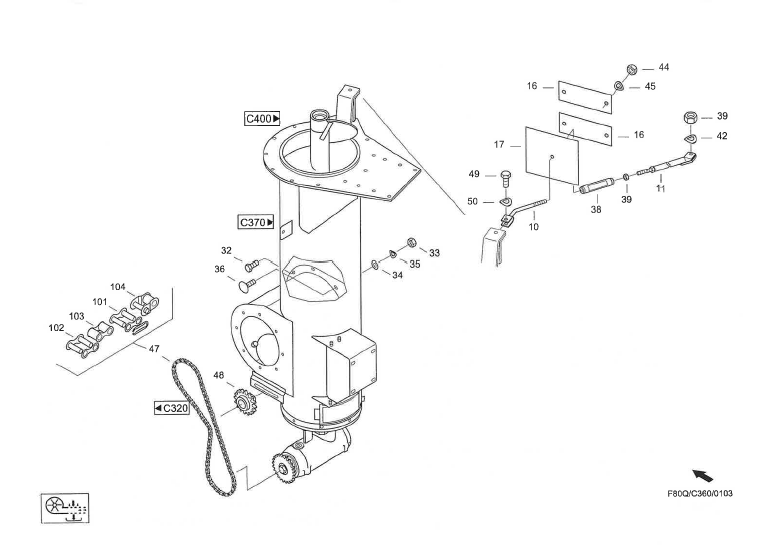
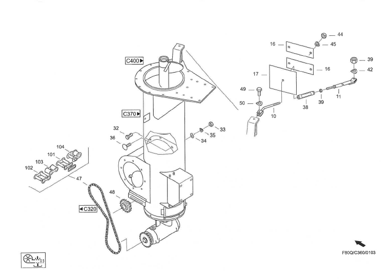
- Steigschnecke, Anbauteile
- Steigschnecke
- Kegelradgetriebe
- Abtankschnecke, Anbauteile
- Auflage
- Abtankschnecke
- Knie
- Kegelradgetriebe 2
- Entnahmevorrichtung
- Körnerschnecke, Ährenschnecke
- Schnecke
- Ährenelevator, Anbauteile
- Ährenelevator
- Lagerung
- Elevatorkette, Ährenelevator
- Auswurfkopf
- Ährenschnecke, oben, Anbauteile
- Ährenschnecke, oben
- Kornelevator, Anbauteile
- Kornelevator
- Elevatorkette
- Halter
- Tankfüllschnecke, Anbauteile
- Tankfüllschnecke
- Kegelradantrieb
- Korntank, Oberteil
- Seitenwand
- Korntank, Aufsatz
- Stirnwand
- Deckel
- Gebläse, Schutz
- Antrieb
- Zentralschmierung
- Zentralschmierung, manuell
- Zentralschmierung, automatisch
- Fahrwerk
- Ländervariante
- Bereifung
- Fahrerstand
- Kabine
- Hydraulikanlage
- Elektroanlage
- Zusatzausrüstung
- Strohhäcksler, elektr. verstellbar
- Strohhäcksler, mech. verstellbar
- Strohhäcksler
- Triebwerk
- Case CF80
- Großballenpresse Case 530
- Großballenpresse Case 540
- Großballenpresse Case 550
- Großballenpressen
Produkte filtern
Keine Produkte gefunden.