Zentralschmierung
Kategorien
-
Digitaler Katalog
- MDW 514S ab BJ91
- MDW 524 (Variante Weißrussland)
- MDW 524 (bis Baujahr 1993)
- MDW 525
- MDW 527 bis BJ1995
- MDW 527 ab BJ1996
- MDW Farmer 220
- Case 521
- Case 525
- Case 527
- Case CF60
- Case CF70
-
Case CF80
- Schneidwerk / Schacht
- Dreschwerk
- Reinigung/ Körnerförderung
-
Antriebselemente
- Schneidwerkkupplung
- Schwinge
- Spannrolle
- Dreschwerkkupplung
- Schwinge 2
- Führungsrolle
- Spannrolle 2
- Ährenelevator-Vorgelege
- Vorgelege VM
- Vorgelege
- Abtriebsvariator
- Losscheibe kpl.
- Federteller
- Zwischenwelle
- Welle VM
- Festlager
- Loslager
- Antriebvariator
- Variatorhälfte innen
- Variatorhälfte außen
- Steuerteil
- Abtankkupplung
- Schwinge 3
- Führungsrolle 2
- Spannrolle 3
- Spannrolle 4
- Spannrolle 5
- Spanner LT
- Spannrolle 6
- Antriebselemente rechts
- Spanner KEI
- Spannrolle DW
- Schwinge KEI
- Spannrolle 7
- Spannrolle 8
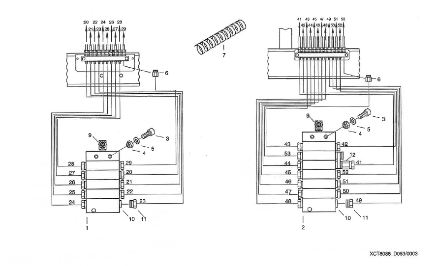
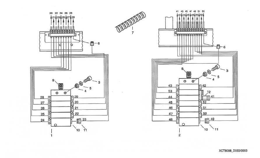
- Zentralschmieanlage links mit Nippelleiste
- Zentralschmieranlage rechts mit Nippelleiste
- Zentralschmieranlage mit Haecksler
- Zentralschmierung
- Antriebselemente links
- Spannrolle 9
- Spannrolle 10
- Maschinengestell
- Fahrerstand/ Bedienelemente/ Kabine
- Hydraulikanlage
- Elektroanlage
- Reduziergetriebe
- Zusatzausrüstung
- Triebwerk CDC
- Reparatursätze
- Großballenpresse Case 530
- Großballenpresse Case 540
- Großballenpresse Case 550
- Großballenpressen
Produkte filtern
Keine Produkte gefunden.