Zum Hauptinhalt springen
Zur Suche springen
Zur Hauptnavigation springen
Um unseren Shop in vollem Umfang nutzen zu können, empfehlen wir Ihnen Javascript in Ihrem Browser zu aktivieren.
Landmaschinen Ersatzteile
+49 (0) 3596 / 508 2400
Mo-Fr, 09:00 - 17:00 Uhr
Home
Digitaler Katalog
Zur Kategorie Digitaler Katalog
MDW 514S ab BJ91
MDW 524 (Variante Weißrussland)
MDW 524 (bis Baujahr 1993)
MDW 525
MDW 527 bis BJ1995
MDW 527 ab BJ1996
MDW Farmer 220
Case 521
Case 525
Case 527
Case CF60
Case CF70
Case CF80
Großballenpresse Case 530
Großballenpresse Case 540
Großballenpresse Case 550
Großballenpressen
Menü schließen
Ihr Konto
Anmelden
oder
registrieren
Übersicht
Persönliches Profil
Adressen
Bestellungen
Warenkorb enthält 0 Positionen. Der Gesamtwert beträgt 0,00 €.
Menü schließen
Digitaler Katalog
Case CF80
Dreschwerk
Separiereinrichtung
Separiereinrichtung
Kategorien
Digitaler Katalog
MDW 514S ab BJ91
MDW 524 (Variante Weißrussland)
MDW 524 (bis Baujahr 1993)
MDW 525
MDW 527 bis BJ1995
MDW 527 ab BJ1996
MDW Farmer 220
Case 521
Case 525
Case 527
Case CF60
Case CF70
Case CF80
Schneidwerk / Schacht
Dreschwerk
Dreschtrommel
Dreschtrommel VM
Lager rechts
Lager links
Vorseparator
Lagerung
Deckel
Keilriemenscheibe
Separiertrommel
Strohtrommel
Dreschkorb mit Verstellung
Dreschkorb
Bolzen
Fangtuch, Profilblech
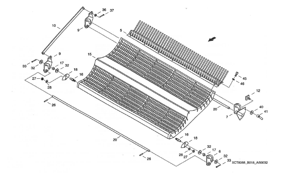
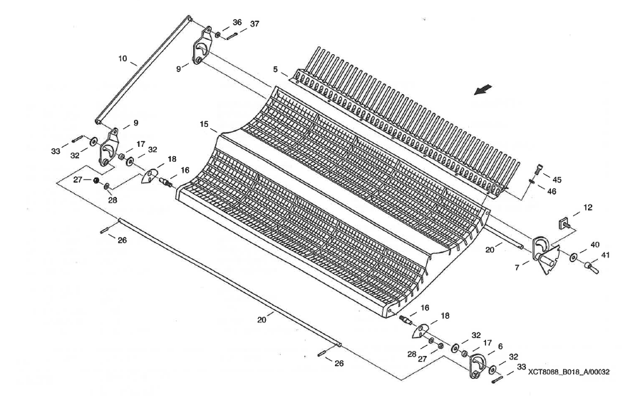
Separiereinrichtung
Steinfangmulde
Rahmen kpl.
Schüttler
Schüttlersatz
Schüttlerhorde
Kurbelwelle vorn
Kurbelwelle hinten
Antrieb
Lagerteil
Trommelkörper
Zugstange vorn
Motor Dreschkorb-Verstellung
Verstellung
Zugstange vorn 2
Reinigung/ Körnerförderung
Antriebselemente
Maschinengestell
Fahrerstand/ Bedienelemente/ Kabine
Hydraulikanlage
Elektroanlage
Reduziergetriebe
Zusatzausrüstung
Triebwerk CDC
Reparatursätze
Großballenpresse Case 530
Großballenpresse Case 540
Großballenpresse Case 550
Großballenpressen
Produkte filtern
Produkte filtern
Keine Produkte gefunden.
Diese Website verwendet Cookies, um eine bestmögliche Erfahrung bieten zu können.
Mehr Informationen ...
Nur technisch notwendige
Konfigurieren
Zurück