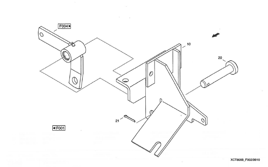
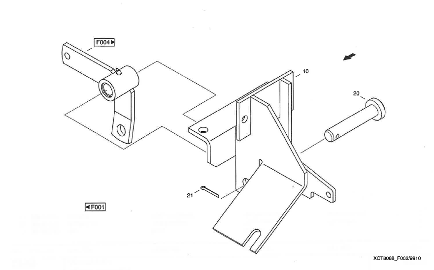
Umlenkung
Kategorien
-
Digitaler Katalog
- MDW 514S ab BJ91
- MDW 524 (Variante Weißrussland)
- MDW 524 (bis Baujahr 1993)
- MDW 525
- MDW 527 bis BJ1995
- MDW 527 ab BJ1996
- MDW Farmer 220
- Case 521
- Case 525
- Case 527
- Case CF60
- Case CF70
-
Case CF80
- Schneidwerk / Schacht
- Dreschwerk
- Reinigung/ Körnerförderung
- Antriebselemente
- Maschinengestell
-
Fahrerstand/ Bedienelemente/ Kabine
- Schaltgestänge
- Umlenkung
- Schaltstange
- Winkelhebel
- Fahrerstand
- Lampenblende
- Lampenblende 2
- Feststellbremse
- Fußbremse (Einzelrad)
- Aufstieg
- Aufstiegsträger VM
- Klimaanlage
- Kabine - Klimaanlage
- Kabine - Klimaanlage 2
- Schlauch
- Bremsverrohrung
- Kabine - Windschutzscheibe
- Kabine
- Kabine - Heckfenster
- Kabine - Rückspiegel
- Kabine - Bodenmatte und Isolierung
- Kabine - Befestigungen
- Kabine - Radio - Funk
- Lenksäule
- Lenkaggregat
- Kabine - linke Tür
- Kabine - rechte Tür
- Beifahrersitz
- Kabine - Bedienpult
- Fahrhebel
- Fahrhebel 2
- Gashebel
- Getriebeschaltung
- Elektrik - Kabine
- Hydraulikanlage
- Elektroanlage
- Reduziergetriebe
- Zusatzausrüstung
- Triebwerk CDC
- Reparatursätze
- Großballenpresse Case 530
- Großballenpresse Case 540
- Großballenpresse Case 550
- Großballenpressen
Produkte filtern
Keine Produkte gefunden.