Zum Hauptinhalt springen
Zur Suche springen
Zur Hauptnavigation springen
Um unseren Shop in vollem Umfang nutzen zu können, empfehlen wir Ihnen Javascript in Ihrem Browser zu aktivieren.
Landmaschinen Ersatzteile
+49 (0) 3596 / 508 2400
Mo-Fr, 09:00 - 17:00 Uhr
Home
Digitaler Katalog
Zur Kategorie Digitaler Katalog
MDW 514S ab BJ91
MDW 524 (Variante Weißrussland)
MDW 524 (bis Baujahr 1993)
MDW 525
MDW 527 bis BJ1995
MDW 527 ab BJ1996
MDW Farmer 220
Case 521
Case 525
Case 527
Case CF60
Case CF70
Case CF80
Großballenpresse Case 530
Großballenpresse Case 540
Großballenpresse Case 550
Großballenpressen
Menü schließen
Ihr Konto
Anmelden
oder
registrieren
Übersicht
Persönliches Profil
Adressen
Bestellungen
Warenkorb enthält 0 Positionen. Der Gesamtwert beträgt 0,00 €.
Menü schließen
Digitaler Katalog
Großballenpresse Case 540
Bindeeinrichtung
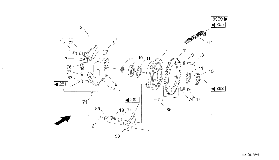
Knüpferantrieb_Schaltkurbel
Knüpferantrieb_Schaltkurbel
Kategorien
Digitaler Katalog
MDW 514S ab BJ91
MDW 524 (Variante Weißrussland)
MDW 524 (bis Baujahr 1993)
MDW 525
MDW 527 bis BJ1995
MDW 527 ab BJ1996
MDW Farmer 220
Case 521
Case 525
Case 527
Case CF60
Case CF70
Case CF80
Großballenpresse Case 530
Großballenpresse Case 540
Schwungradbremse
Stützfuß
Presskanal
Presskolben
Pleulstange, Führungsschienen
Exzenter
Hauptantrieb
Achse 540/540IS
Tandem-Achse 540T/540TS
Bindeeinrichtung
Nadelschwinge
Nadel-Zugstange
Hebel Rückholstange
Rückholstange
Fadenpendel, Ösenträger
Befestigung Bindegetriebe
Strohrad
Auslösewelle
Schwinge, Schaltbügel
Knüpfergestell
Fadenandrücker, Steuerwelle
Schaltangel
Knüpferwelle, Lagerung (r)
Lagerung (l)
Knüpferantrieb_Schaltkurbel
Knüpfapparat, Knotenabzieher
Knoten, Fadenfänger
Fadenkästen
Rotorförderer
Pick up 540/540T
Presseinrichtung
Verkleidung
Handbremse 540/540IS
Handbremse 540T/540TS
Hydraulikanlage
Elektronik BUS-System
Fahrzeugelektrik 540/540IS
Fahrzeugelektrik 540T/540TS
Sonderausrüstung
Zusatzhydraulik
Anhängung
Zentralschmierung 540/540T
Zentralschmierung 540IS/540TS
Ballenlängeneinstellung
Schneideinrichtung mit Pick up 540IS/540TS
Ballenausdrücker
Bremse hydraulisch
Zweileitungsbremse pneumatisch
Bremse Italien
Elektronik
Ballenablage
Rollenrutsche
Kettenschlösser
Zerlegte Baugruppen
Großballenpresse Case 550
Großballenpressen
Produkte filtern
Produkte filtern
Keine Produkte gefunden.
Diese Website verwendet Cookies, um eine bestmögliche Erfahrung bieten zu können.
Mehr Informationen ...
Nur technisch notwendige
Konfigurieren
Zurück