Grundgestell 540TS
Kategorien
-
Digitaler Katalog
- MDW 514S ab BJ91
- MDW 524 (Variante Weißrussland)
- MDW 524 (bis Baujahr 1993)
- MDW 525
- MDW 527 bis BJ1995
- MDW 527 ab BJ1996
- MDW Farmer 220
- Case 521
- Case 525
- Case 527
- Case CF60
- Case CF70
- Case CF80
- Großballenpresse Case 530
-
Großballenpresse Case 540
- Schwungradbremse
- Stützfuß
- Presskanal
- Presskolben
- Pleulstange, Führungsschienen
- Exzenter
- Hauptantrieb
- Achse 540/540IS
- Tandem-Achse 540T/540TS
- Bindeeinrichtung
- Fadenkästen
- Rotorförderer
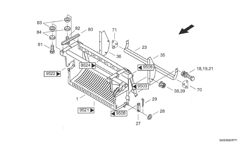
- Pick up 540/540T
- Presseinrichtung
- Verkleidung
- Handbremse 540/540IS
- Handbremse 540T/540TS
- Hydraulikanlage
- Elektronik BUS-System
- Fahrzeugelektrik 540/540IS
- Fahrzeugelektrik 540T/540TS
- Sonderausrüstung
- Zusatzhydraulik
- Anhängung
- Zentralschmierung 540/540T
- Zentralschmierung 540IS/540TS
- Ballenlängeneinstellung
- Schneideinrichtung mit Pick up 540IS/540TS
- Ballenausdrücker
- Bremse hydraulisch
- Zweileitungsbremse pneumatisch
- Bremse Italien
- Elektronik
- Ballenablage
- Rollenrutsche
- Kettenschlösser
- Zerlegte Baugruppen
- Großballenpresse Case 550
- Großballenpressen
Produkte filtern
Keine Produkte gefunden.