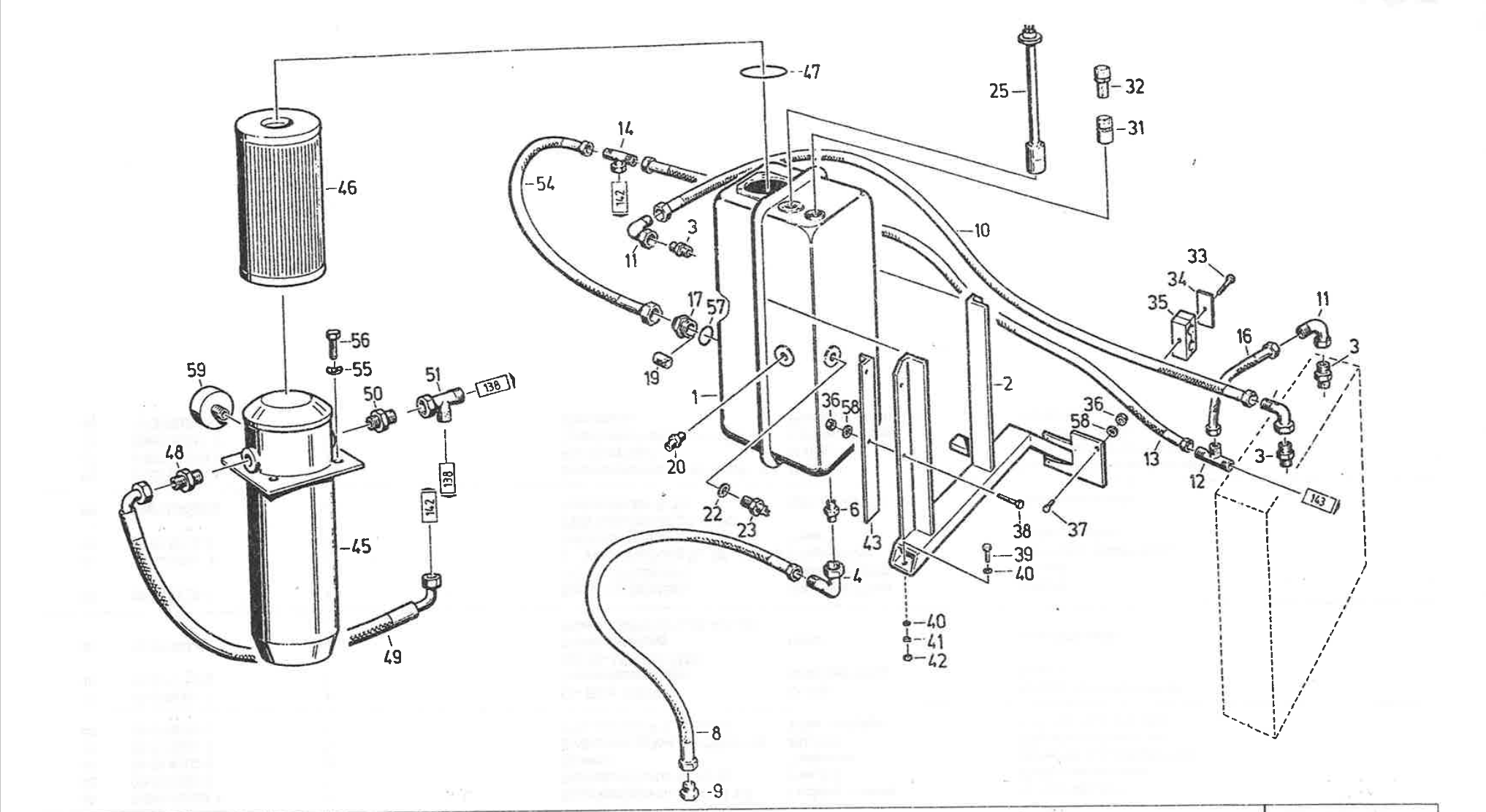
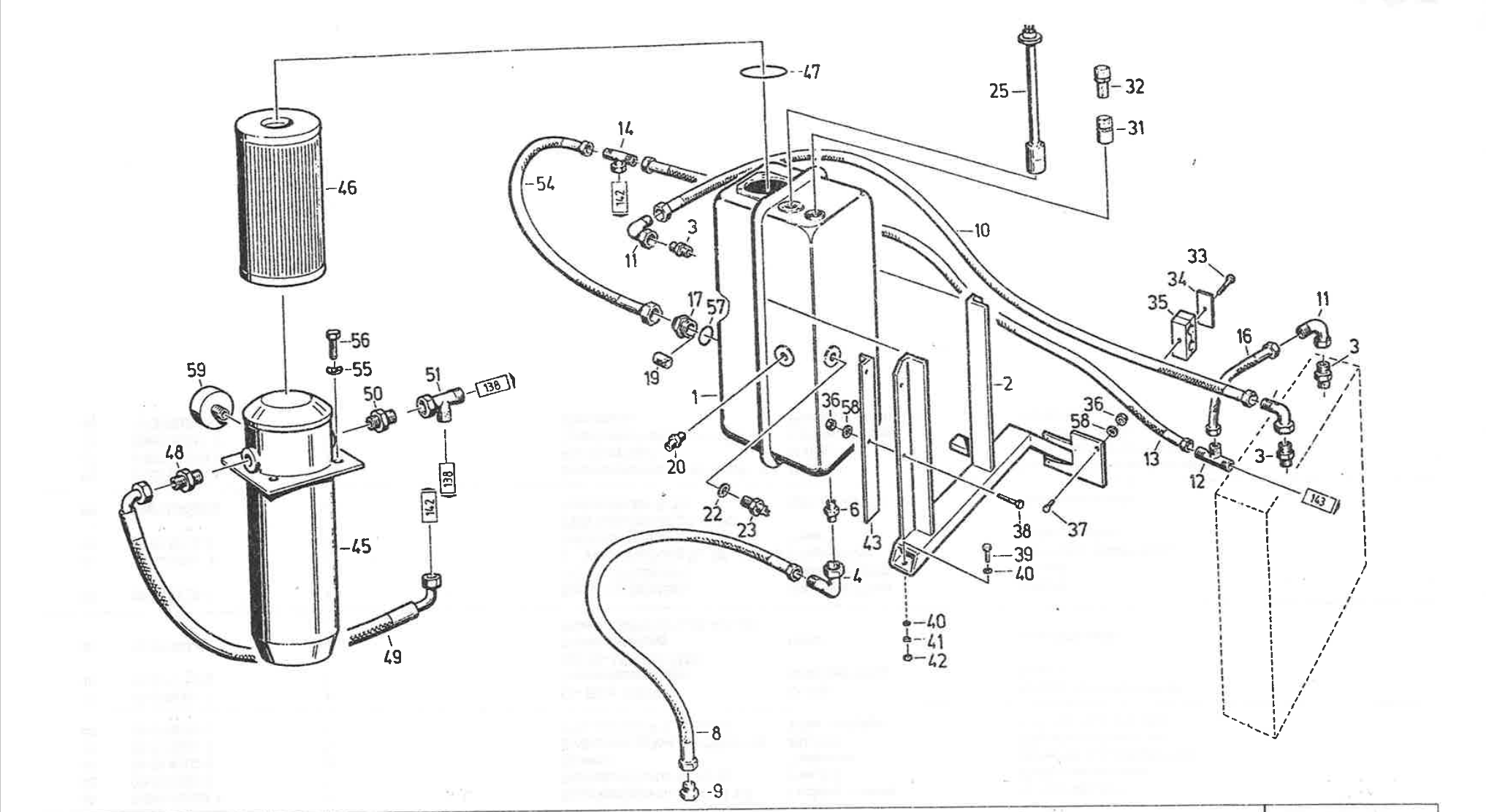
Ölbehälter, 50 l - Hyfa
Kategorien
-
Digitaler Katalog
- MDW 514S ab BJ91
- MDW 524 (Variante Weißrussland)
- MDW 524 (bis Baujahr 1993)
-
MDW 525
- Schneidwerk / Schacht
- Dreschwerk
- Reinigung / Körnerförderung
- Antriebselemente
- Maschinengestell
- Fahrerstand / Bedienelemente / Kabine
-
Hydraulikanlage
- Ölbehälter, 25 l
- Ölbehälter, 50 l - Hyfa
- Plattform, Hubvorrichtung
- Wegeventil 525-260
- Wegeventil 525-170 Hyfa
- Verrohrung, Triebwerk - Volvo, Mefa
- Verrohrung, Triebwerk - Perkins 133 kW
- Verrohrung, Triebwerk - Volvo, Hyfa
- Verrohrung, rechts Seite
- Verrohrung, rechts Seite - Hyfa
- Verrohrung, Abtankrohr
- Fahrhydraulik Hyfa-Pumpe
- Fahrhydraulik, rechts
- Fahrhydraulik, rechts - S
- Elektroanlage
- Getriebe
- Zusatzausrüstungen
- Triebwerk Volvo
- Triebwerk Perkins
- MDW 527 bis BJ1995
- MDW 527 ab BJ1996
- MDW Farmer 220
- Case 521
- Case 525
- Case 527
- Case CF60
- Case CF70
- Case CF80
- Großballenpresse Case 530
- Großballenpresse Case 540
- Großballenpresse Case 550
- Großballenpressen
Produkte filtern
–