Siehe auch 061108454
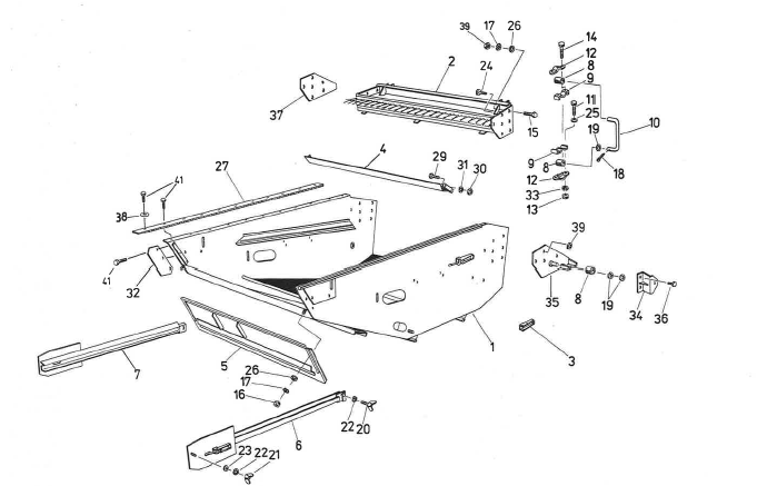
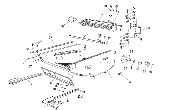
Zeichnungs-Nr.5568-0563:000/03
Zeichnungs-Nr.5550-5701:087/03
Zeichnungs-Nr.5550-5701:102/03
Zeichnungs-Nr.5550-5701:142/04 BZ
3x alte Ausführung orange
DIN127-B10-FST-A3C
DIN315-M10-ST-C-A3C
Zeichnungs-Nr.5550-5700:050/04
Zeichnungs-Nr.5550-5700:059/04
DIN6797-A12,5-A3C
DIN126-6,6-A3C
DIN126-22-A3C
DIN933-M12x25-8.8-A3C
8.8