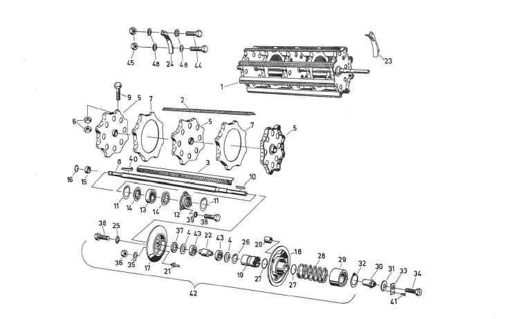
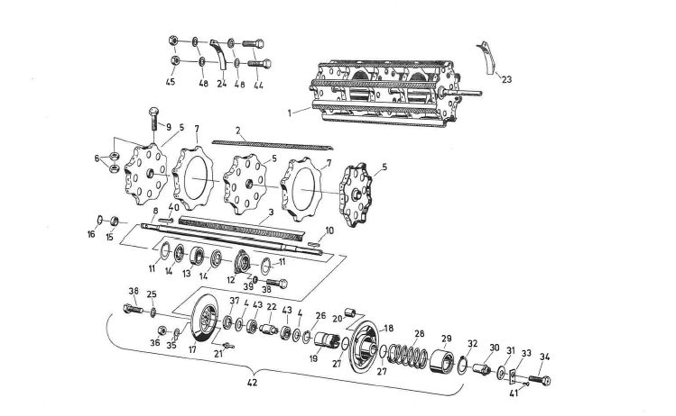
Zeichnungs-Nr.5550-5304:013/04
TGL6558 28x36x32 mm
Zeichnungs-Nr.5550-3200:021/04
50,5x79,5x0,3Zeichnungs-Nr.5550-4207:009/04
5550-3201:024/04
E 514/521Siehe 4260690575 E525 (ohne Welle)
E 514/521
Zeichnungs-Nr.5550-5304:026/03(2x Variante alt - blau)
DIN127-B12-FST-A§C
E 514/521 Dreschtrommel
6x15 DIN 1476
Zeichnungs-Nr.5550-3200:020/03
120 mm lg.
DIN6885-A12x8x110
DIN625-6010
17x70x6Zeichnungs-Nr.5550-5300:019/04
Zeichnungs-Nr.5550-5304:004/01