DIN711-51120 M
Weitere Bestände in Gitterbox vor Raum 002, rechtsund bei Mitnehmerbolzen 020930192 (001-4-5-1) !
TGL6558 28x36x32 mm
Zeichnungs-Nr.524-40502:004/04
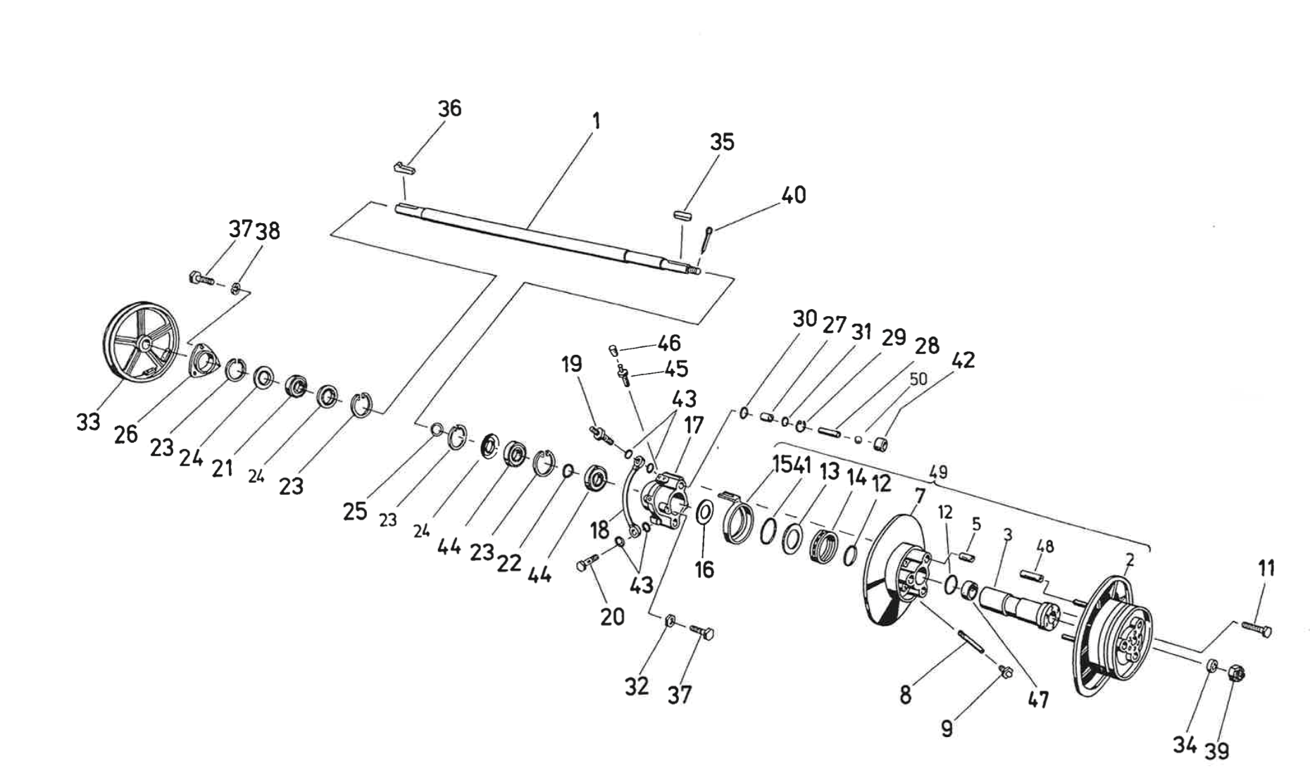
Zeichnungs-Nr.5550-3200:021/04
45,3X98,5X0,3
99X134X0,45550-3203-035-0
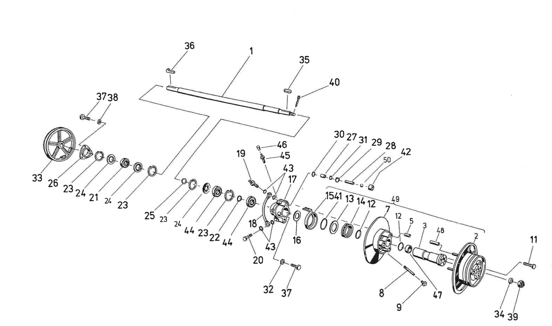
Zeichnungs-Nr.5550-3201:022/04
5550-3201:024/04
Zeichnungs-Nr.5552-3205:000/02
DIN127-B12-FST-A§C
DIN7649-8 gleich 9946927460
TGL21620-8
DIN71412-AM8X1
DIN 935-M24-1,5-6-A3C
DIN5401-1/2''-II
Zeichnungs-Nr.5550-3200:020/03