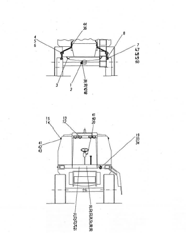
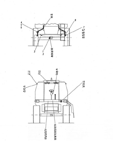
Elektrik, Front/Heck
Kategorien
-
Digitaler Katalog
- MDW 514S ab BJ91
- MDW 524 (Variante Weißrussland)
-
MDW 524 (bis Baujahr 1993)
- Schneidwerk /Schacht
- Dreschwerk
- Reinigung/ Körnerförderung
- Antriebselemente
- Maschinengestell
- Fahrerstand/ Bedienelemente/ Kabine
- Hydraulikanlage
-
Elektroanlage
- Elektrik, Schneidwerkrücklauf bis Masch.-Nr. 80-1010
- Elektrik, Schneidwerkrücklauf von Masch.-Nr. 80-1011
- Strohreißer-Elektrik bis Masch.-Nr. 80-1010
- Strohreißer-Elektrik von Masch.-Nr. 80-1011
- Elektrik, links
- Elektrik, rechts bis Masch.-Nr. 80-1010
- Elektrik, rechts von Masch.-Nr. 80-1011
- Vorglühanlage
- Lampeneinheit
- Batterieblock, Elektrik
- Bedienpult, Elektrik bis Masch.-Nr. 80-1010
- Bedienpult, Elektrik von Masch.-Nr. 80-1011
- Elektrik, Front/Heck
- Kontrollsystem-Standard
- Kontrollsystem-Komfort
- Kontrollsystem-Komfort 1
- Getriebe
- Zusatzausrüstung
- Triebwerk Nordhausen
- MDW 525
- MDW 527 bis BJ1995
- MDW 527 ab BJ1996
- MDW Farmer 220
- Case 521
- Case 525
- Case 527
- Case CF60
- Case CF70
- Case CF80
- Großballenpresse Case 530
- Großballenpresse Case 540
- Großballenpresse Case 550
- Großballenpressen
Produkte filtern
–