DIN1444-B10H11X30X24-ST-A3C
DIN1444-B10H11X35X26-ST-A3C
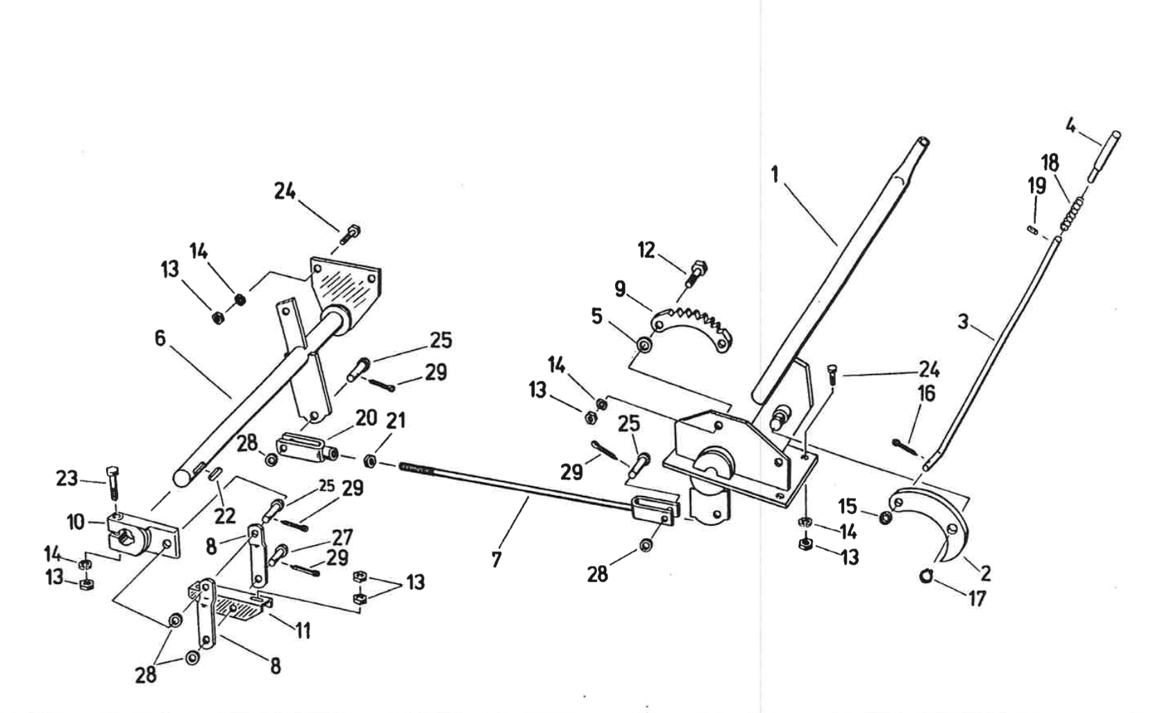
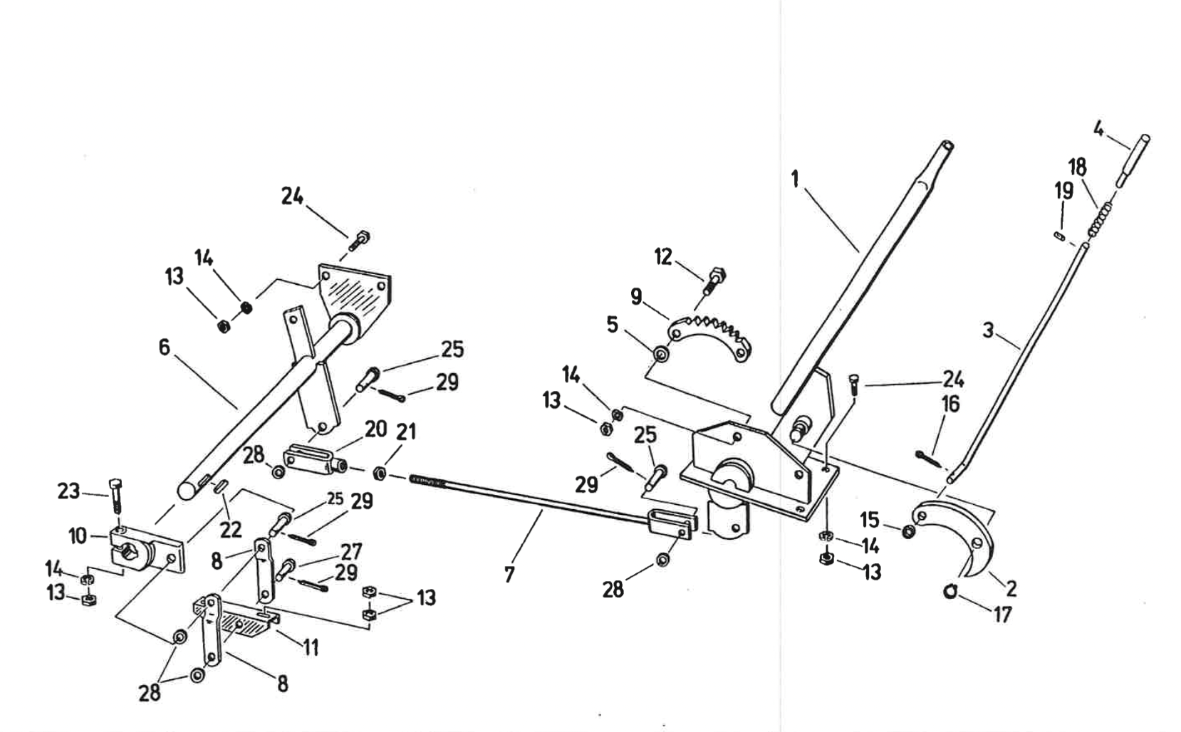
Zeichnungs-Nr.5552-1431:023/04Drücker für Handbremse E 514
DIN1473-3x12-ST
DIN126-6,6-A3C
DIN125-A10,5-ST-A3C
DIN934-M10-8-A3C
DIN934-M8-8-A3C
DIN933-M8x30-8.8-A3C
Zeichnungs-Nr.5550-1802:015/04