DIN1444-B10H11X30X24-ST-A3C
DIN7985-M6x30-8.8-A3C
DIN126-6,6-A3C
DIN433-13-ST-A3C
DIN934-M10-8-A3C
DIN934-M5-8-A3C
DIN934-M6-8-A3C
DIN934-M8-8-A3C
DIN933-M5x14-8.8-A3C
Form M6-ST-galZn (6,4x14,20x1,44)
DIN94-4x20-ST-A3C
DIN94-4X25-ST-A3C
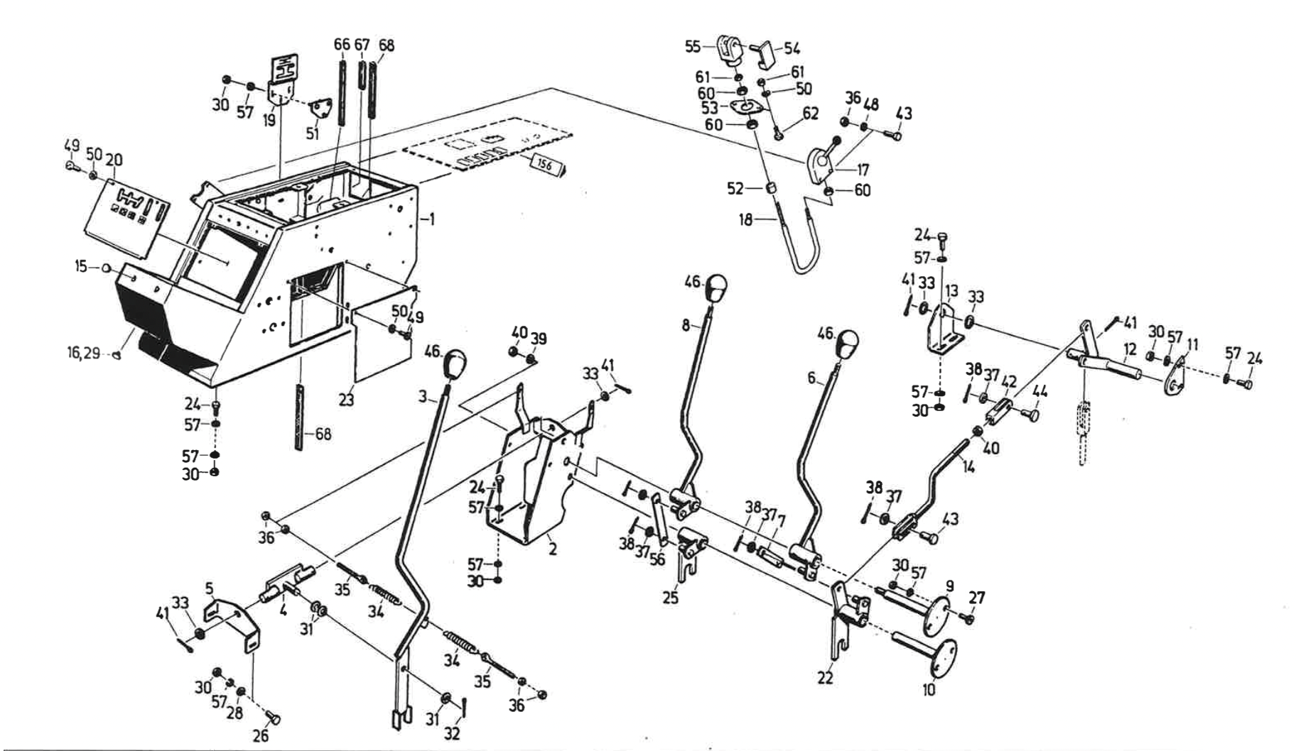
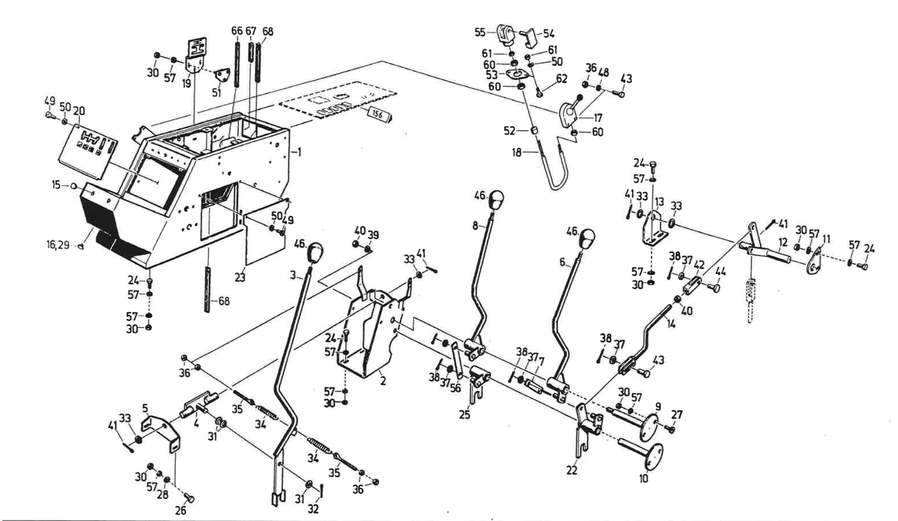
Zeichnungs-Nr.5552-1440:001/03
inkl. 060506443 Betätigung(E 527 Tafel 111 Bild 54+55)