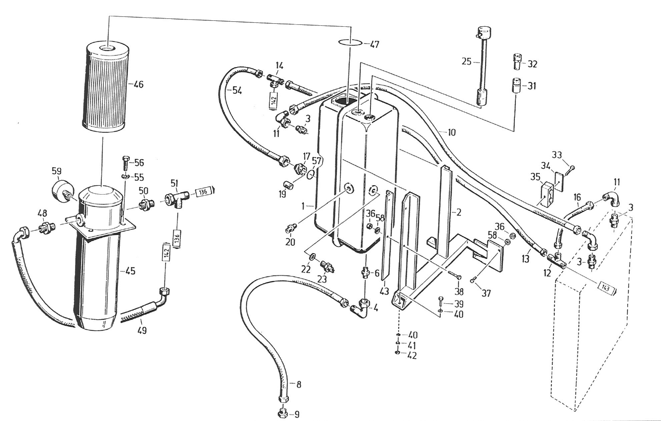
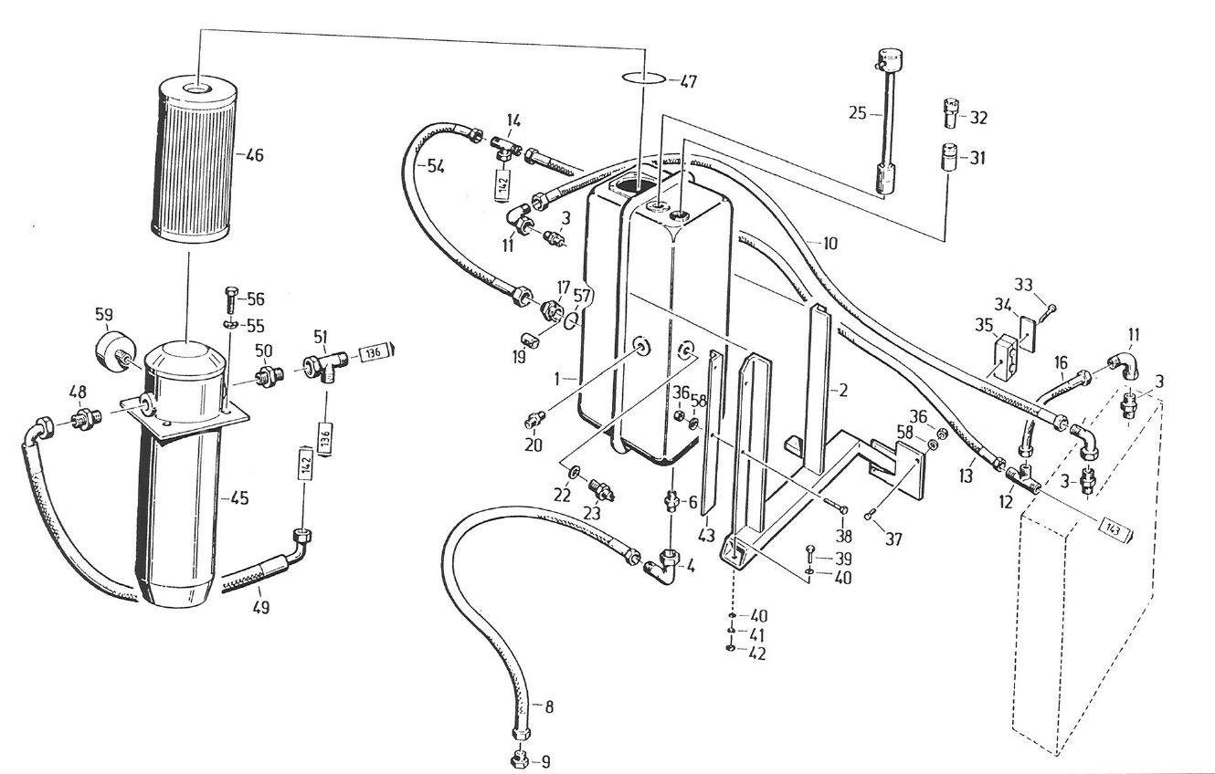
BF50.22309.10P
EBF50.10
DIN7603-A14X18-VF
GE 12-L/M18X1,5-ED/OMD/A3C
H 10300P2.1030-01
DIN3770-38x3-NBR70
PND 310X2500 AFL AFL
PHD 120x1000 AOL AOL45
PSG 132X1600 AOL90 AOL90
DIN934-M10-8-A3C
DIN934-M8-8-A3C
DIN933-M10x18-8.8-A3C
DIN933-M10x25-8.8-A3C
DIN933-M 8x16- 8.8- A3C
DIN 933 8x50 8.8 A3C
BEST.-NR.610.003.1010-M14X1,5
EW12-L/OMD/A3C