DIN1444-B10H11X30X24-ST-A3C
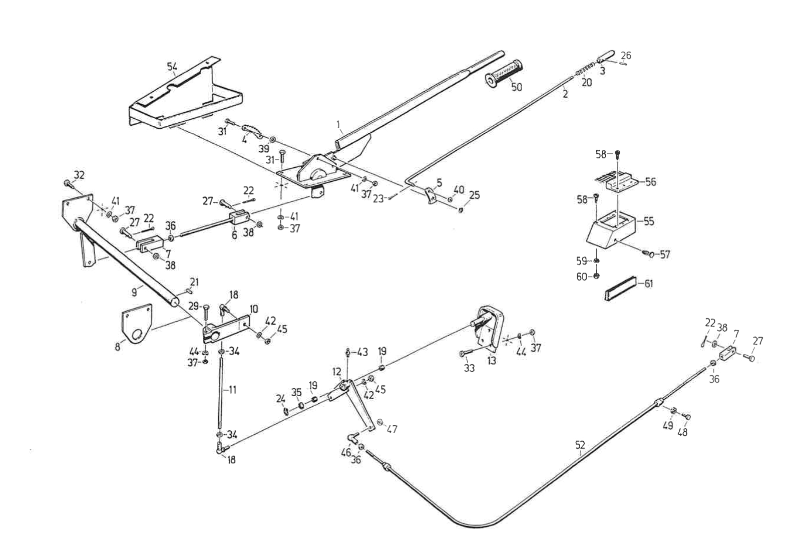
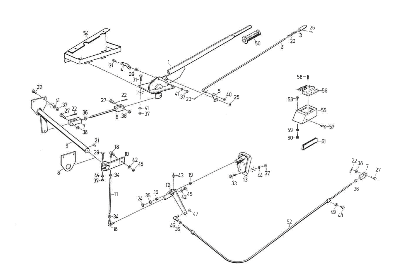
Zeichnungs-Nr.5552-1431:023/04Drücker für Handbremse E 514
DIN137-B8-FST-A3C
DIN1473-3x12-ST
Zeichnungs-Nr.5550-1701:026/04
DIN126-6,6-A3C
DIN125-A10,5-ST-A3C
DIN125-A17--ST-A3C001-DIN-Mitte 9.R+L/
DIN934-M10-8-A3C
DIN934-M14x1,5-8-A3C
DIN934-M5-8-A3C
DIN934-M8-8-A3C
DIN980- VM10-8-A3C
DIN94-3,2x22-ST-A3C
DIN71802-CSL19-A3C