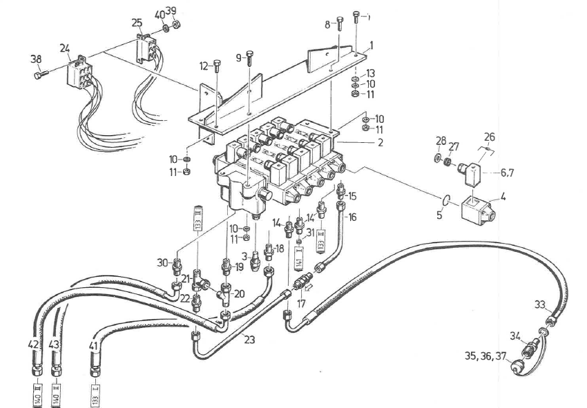
SY 360/1
SKL 06 HL3
GH44-4-A M.N.24V (GEBRAUCHT)
17x8,3x2,5
DIN9021-A5,3-ST-A3C
PHD 116X880 HL AFL90
PHD 213X930 HL AOL90
DIN934-M8-8-A3C
DIN933-M 8x16- 8.8- A3C
DIN933-M8x45-8.8-A3C
SKL ZUBS 3 rot
SKL ZUBS 3 blau
SKL ZUBS 3 GRUEN
K.-NR.008908-Z4-GDM-2011-RE-GRAU-A
K.-NR.008909-Z4-GDM-2011-RE-SCHW.-B
5SP08